УСТАНОВКИ ДЛЯ НЕПРЕРЫВНОГО ПРОИЗВОДСТВА СУСЛА
За последние годы в ряде стран созданы и эксплуатируются установки для непрерывного производства пивного сусла.
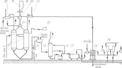
Технологическая схема установки фирмы АРУ Со 1Лй представлена на рис. 42.
Установка работает следующим образом. Солод из бункера 1 дозатором 2 передается на шестивальцовую дробилку 3, откуда он поступает в предзаторник 4 непрерывного действия, где смешивается с водой, имеющей температуру 47°С, в соотношении 1 : 3, а затем, пройдя трубчатый осахариватель первой ступени 6, где происходит расщепление белков, насосом 5 передается во второй осахариватель 12, куда одновременно поступает затор из несоложеных материалов. Для приготовления последнего несоложеные материалы из бункера 7 дозатором 8 направляются на мельничный стан 9, а из него поступают в развариватель 11, в который из бака 10 вводится суспензия ферментов для клейстеризации крахмала. Здесь помол несоложеных материалов смешивается с водой и кипятится. Смесь двух заторов в осахаривателе второй ступени доводится до температуры 62°С. Из этого осахаривателя затор передается в барабанный осахариватель 13, где температура смеси доводится до 75°С. Затем часть затора насосом подается в непрерывно действующий варочный аппарат 14, где затор кипятится, а затем вновь смешивается с основным затором во вращающемся осахаривателе 13. Осахаренный затор насосом перекачивается в ротационный фильтрационный аппарат 16, представляющий собой вращающийся барабан с отдельными сегментами. По мере передвижения ситчатых сегментов вокруг центральной оси за 3,5 ч затор в них отстаивается, сусло стекает, дробина промывается и выбрасывается через откидное днище. В фильтре воспроизводится процесс фильтрации аналогично работе обычного фильтрационного аппарата.


Рис. 42. Технологическая схема установки для непрерывного приготовления пивного сусла фирмы АРУ
Готовое сусло стекает в сборник 15, из которого насосом 5 передается в один из сусловарочных котлов 17. Здесь в сусло добавляется дробленый хмель,
Который из бункера 18 дозатором 19 подается на весы 20, а потом на измельчитесь 21, или хмелевой экстракт из бункера 23. Сусло кипятится в течение 1,5 ч. Пары отводятся из аппаратов через конденсаторы 22. Сваренное сусло через хмелеотделитель 24 сливается в промежуточный суслосборник 25, затем осветляется на центрифуге 26 для отделения горячей мути и направляется через промежуточный сборник 27 на пластинчатый холодильник 28, насыщается кислородом и вторично фильтруется на диатомитовом фильтре 29, пастеризуется и передается в бродильное отделение.
Шведская фирма разработала конструкцию и смонтировала на Гданьском пивоваренном заводе в ПНР установку «2еп1пЬге1» для непрерывного производства сусла, обеспечивающую выработку 5—10 млн. дал пива в год.
Установка (рис. 43) включает оборудование для приготовления затора, извлечения экстрактивных веществ и тепловой обработки сусла.
Для приготовления сусла солод подвергают подработке, взвешиванию и измельчению на молотковой дробилке. Измельченный солод непрерывно подается в заторный аппарат, где смешивается с водой при температуре 35°С. Полученный затор нагревают до 50°С в непрерывно действующем теплообменнике, а затем направляют во второй теплообменник — осахариватель, где выдерживают при температуре 50Х заданное время. После этого температуру затора доводят до 70°С, выдерживают затор при этой температуре и передают в третий спиральный теплообменник, где он нагревается до 73°С. На этом процесс осахаривания заканчивается, и затор поступает в аппарат с мешалкой, где происходит полное осахаривание. Из этого аппарата затор непрерывно определенными дозами передается в аппарат для отделения сусла и промывания дробины. После отделения сусла дробину промывают горячей водой, после чего содержание экстракта в ней не превышает 0,5%. Затем дробину направляют на сушку, а промывную воду из третьего аппарата направляют во второй, а из второго — в первый. Такой способ промывки позволяет на выходе из первого аппарата получить промывные воды с высоким содержанием экстракта.

Сусло соединяют с промывными водами и направляют на сепаратор, где оно освобождается от белковых веществ и взвесей, после чего передается в аппарат с мешалкой, где смешивается с экстрактом хмеля, и направляется на тепловую обработку. Белковый осадок, извлеченный из сусла, поступает на сепаратор, высушивается и реализуется на корм скоту. При тепловой обработке сусло нагревается до 150°С, при этом происходит интенсивное выпадение белков. После этого сусло поступает в вакуум-аппарат, где подвергается кипячению и быстрому охлаждению до 80°С.
После тепловой обработки сусло передается в сборник, из которого оно направляется на сепаратор для отделения от хмелевого и белкового осадка. Осветленное сусло охлаждают и передают в бродильный аппарат.
No Responses so far
Обсуждение закрыто.
Comment RSS